15 Jan, 26

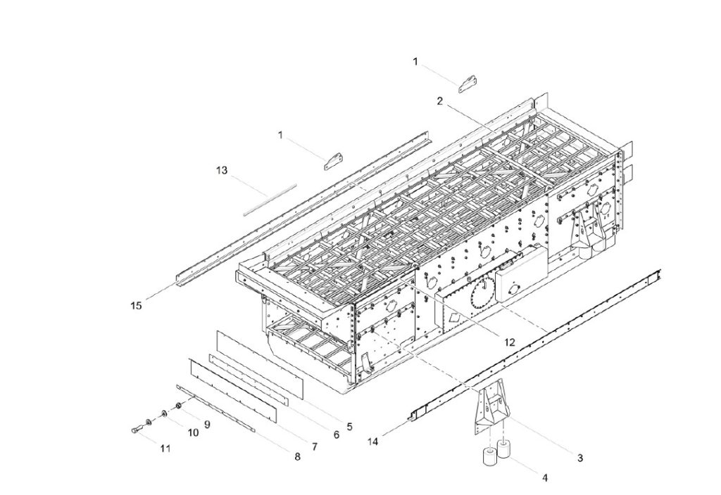
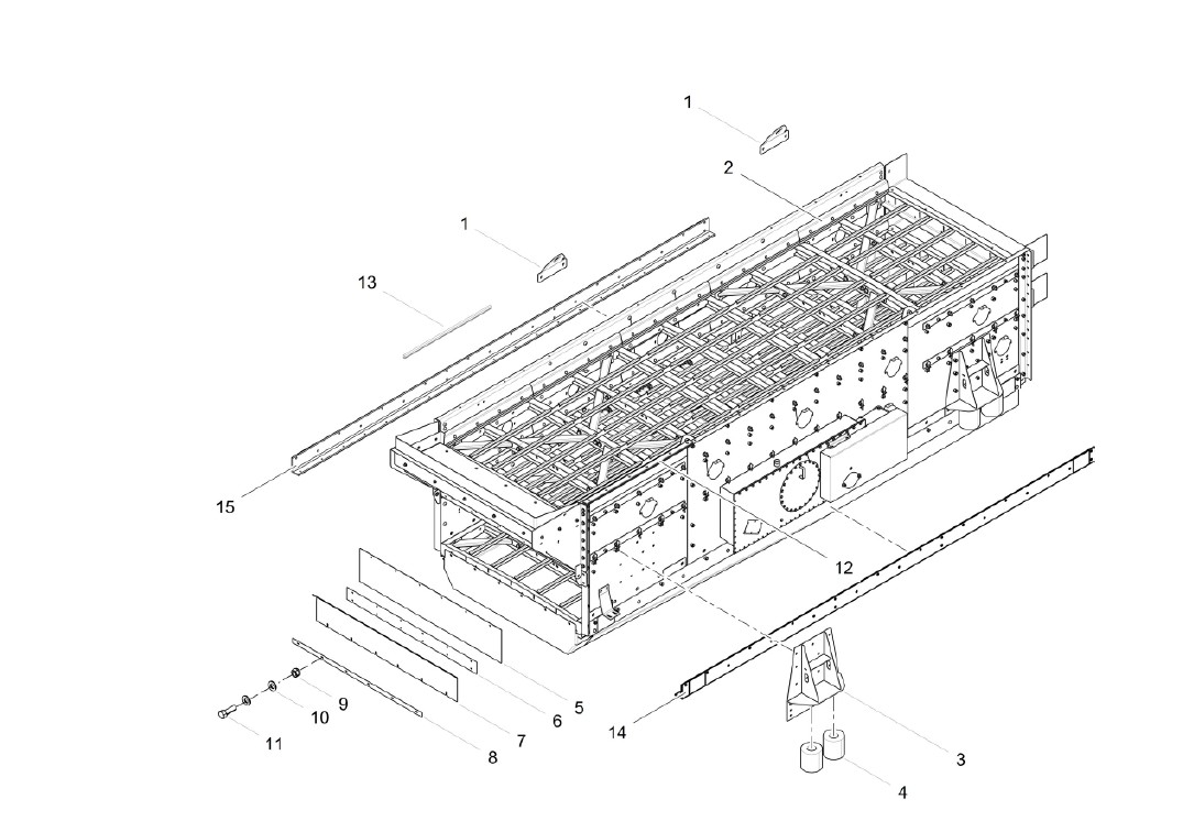
PIECES RESSORTS CAOUTCHOUC TYPE MARSH MELLOW SPRINGS CRIBLE CEDARAPIDS 013600000002

smc-concassage
RESSORTS CAOUTCHOUC POUR CRIBLE CEDARAPIDS 5163 & 6203

DONUT RUBBER

MARSHMELLOW SPRINGS POUR CRIBLE CEDARAPIDS TEREX MONTER SUR POWERSCREEN 5163 ET 6023 OU SUR FINLAY 984

HORIZON 6203 référence ressorts caoutchouc : 12510104

reference CEDARAPIDS : 013600000002

 

Points forts

RESSORT CAOUTCHOUC POUR CRIBLE CEDARAPIDS 013600000002

Poids

Capacité de production

Capacité d’alimentation

Long. transport

Haut. transport

Larg. transport